中华建筑报网
首页>曝光台> 正文

南京铁义华基础工程有限公司施工安全措施不到位导致燃气管线损坏被罚2.9万元

2022-04-11 18:44:58来源:信用南京作者:佚名责任编辑:叶子文

南京铁义华基础工程有限公司施工安全措施不到位导致燃气管线损坏被罚2.9万元

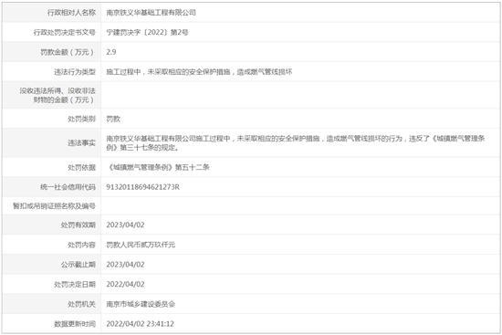
  据信用南京-南京市行政许可和行政处罚等信用信息公示专栏近期发布的《行政处罚文书-宁建罚决字〔2022〕第2号》显示,南京铁义华基础工程有限公司(统一社会信用代码:91320118694621273R)在施工过程中存在未采取相应的安全保护措施,造成燃气管线损坏的行为,违反了《城镇燃气管理条例》第三十七条的规定。依据《城镇燃气管理条例》第五十二条,南京市城乡建设委员会对该公司处罚款2.9万元。

南京铁义华基础工程有限公司施工安全措施不到位导致燃气管线损坏被罚2.9万元

微信扫一扫,分享给朋友